Плуг своими руками чертежи
После того как у меня появилась мотолебёдка сельскохозяйственная, изготовленная своими руками, которая используется для вспашки огорода стал вопрос: купить плуг или изготовить своими силами? Пройдясь по магазинам и базару г. Смоленска возникает странное ощущение того, что выпускаемые промышленностью плуги для мотоблока представляет из себя печальное зрелище.
Следующий шаг найти что-нибудь толковое — поиск в интернете. К моему удивлению на просторах русскоязычной сети плавает 3-4 оригинальных описания с чертежами (этот факт меня удивляет очень сильно). Шаг следующий – смотреть, чем пользуются окружающие. Купить подходящий плуг не удалось было принято решение изготовить плуг своими руками. Исходя из того что плуг предполагалось использовать для посадки картофеля с лебедкой для вспашки к нему предъявляются требования:
1. Ширина вспашки – до 30 см.
2. Глубина вспашки -10-20см.
3. Плуг должен сам держать борозду, не зарываясь и не выскакивая из борозды. Геометрия плуга должна обеспечивать движение с заданными параметрами без помощи пахаря.
4.Наличие возможности регулировки глубины и ширины вспашки.
5. Минимальный вес и достаточная прочность.
Мой дядя уже более 10 лет использует свою самодельную мотолебедку для вспашки и опробовал несколько вариантов, последние несколько лет он остановился на варианте, оптимизированным под самодельную мотолебедку для огорода, а и именно под посадку картофеля с расстоянием между рядами 60 см. Так же имеются самодельный окучник для мотолебедки и картофелевыкапыватель, изготовленный своими руками, все это можно посмотреть на соответствующих страницах сайта.
Чертеж плуга

Чертеж полевой доски.
По этому шаблону гнется отвал, до совпадения двух профилей а дальше сваривается под углом.

Используя чертеж самодельного плуга необходимо на плотной бумаге нарисовать шаблон выкройки плуга, а потом перенести картинку на металл и вырезать болгаркой заготовку. Лично я использовал материал нержавейку толщиной 1,8 мм. Многие часто применяют лист 2-3 мм. Режущая часть плуга усилена полоской более толстого металла. Кто-то предлагает для этих целей использовать диск от циркулярки, кто рессору от « москвича». Из личного опыта, если дачный участок на семью из 4-х человек пахать весной и осенью обрабатывая шесть соток, гнаться за свехпрочностью не стоит. Выгодней изготовить легкий, но достаточно прочный для своих задач плуг. Лучше через 10 лет что-то подремонтировать или заменить, и то, если потребуется, чем все 10 лет таскать утяжеленную конструкцию самодельного плуга. Лишний вес ни к чему.
Так выглядит система регулировки ширины вспашки. Переставляя большое колесо можно в значительных пределах менять ширину вспашки. Когда сажаю картофель ставлю захват 30 см, за два прохода получается между рядами расстояние 60 см. Под осеннюю перепашку огорода или при перепахивании целины захват делаю по меньше. Маленькое колесо сделано таким широким, что бы плуг не вдавливало в землю.


Посмотрев рисунки ниже, можно представить основные принципы работы самодельного плуга, а точнее направляющей системы, которая позволяет плугу без участия пахаря двигаться строго по прямой на установленных глубине и ширине вспашки. Ширина вспашки регулируется перемещением большого колеса, которое при смещении точки приложения усилия тяги как показано на рисунке, прижимается к борозде, что и позволяет плугу повторять направление предыдущей борозды. Плуг незначительно поворачивается, что увеличивает ширину вспашки. По факту ширина носовой части в перпендикулярном направлении оси движения плуга меньше чем 300 мм, однако, указанная ширина доступна для вспашки.

Колесо плуга идет по дну пропаханной борозды и такая ситуация наблюдается от предыдущей борозды к последующей. В результате приложения силы тяги действует сила, направленная на углубление плуга, пока плуг не станет по оси колеса, как показано на рисунке, в результате все силы уравновешиваются, и система работает очень стабильно. Грубая регулировка глубины вспашки осуществляется подбором соответствующей разницы диаметров колес, а плавная осуществляется регулировкой наклона плуга. На данном этапе отпала необходимость использования ручек для управления плугом, разве что для каких то особенных условий пахоты.

Пашет не только рыхлую землю как на видео, но и целину

С каким навесным оборудованием работает мотоблок
Любой опытный фермер знает, что при помощи мотоблока, культиватора или иной мототехники можно механизировать практически все сельскохозяйственные работы, начиная от обработки земли для подготовки её к посевам и заканчивая перевозкой собранного урожая. Универсальными мотоагрегаты стали благодаря возможности применения разнообразного навесного оборудования. Так, например, для обработки паханой земли и возделывания целины созданы не только отвальные и прочие плуги, но и:
- бороны;
- окучники;
- почвофрезы;
- плоскорезы-пропольники.
Бороны служат для того, чтобы пахать целину, а так же для предпосевного или послеуборочного рыхления пахотной почвы на глубину 7-14 см. С помощью боронования мотоблоком, культиватором выравнивают поверхность, закрывают влагу, уничтожают сорную траву. Рабочими органами таких сельхозорудий выступают металлические зубья или диски сферической формы. На этом видео можно наглядно посмотреть, как правильно пахать мотоблоком и самодельной бороной.
При помощи окучника производят окучивание картофеля, нарезание борозд для посева семян, засыпку посадочного материала, а так же присыпание сорняков непосредственно в зоне рядков. Приспособления для окучивания бывают однорядные и двухрядные, с фиксированной и регулируемой шириной захвата, различимые как по конструктивному решению, так и по своей эффективности. Здесь представлено видео о том, как мотоблок Нева МБ2 производит обработку с навесным двухрядным окучником-пропольником.
Почвофрезой можно пахать целину, проводить предпосевную и основную обработку вспаханной земли. Данное сельскохозяйственное орудие позволяет фрезеровать, культивировать землю и качественно готовить её к посеву. Оно способно не только вспахать почву, но и раскрошить крупные пласты, перемешать с удобрением, измельчить частицы жнивья, разровнять посевную площадь. Почвофрезы для вспашки бывают разного типа, в зависимости от количества режущих элементов. На этом видео показано, как на деле пахать мотоблоком с установленной на нём фрезой.
Читать также: Сварочный инвертор как пользоваться
Плоскорез прополочный помогает подрезать сорняки, расщелить и разрезать канавки без оборота пласта, вспахать и размельчить землю. Плоскорезы бывают со всевозможной шириной захвата и глубиной обработки, что позволяет выбирать их под конкретные условия обработки сельскохозяйственных наделов и культур. О том, как на практике осуществлять обработку навесным плоскорезом хорошо демонстрирует это видео на примере мотоблока Днепр.
Кроме перечисленных съёмных инструментов, созданных для того чтобы пахать целину и обрабатывать пахотную землю, с мотоагрегатом применяют грабли, дровоколы, сеялки, измельчители, культиваторы, косилки роторные и сегментные, лопаты отвалы, опрыскиватели, щётки подметальные, снегоуборщики и прочее. Имея в наличии основной набор навесных сельхозорудий можно мотоблоком или мощным культиватором выполнять всевозможные хозяйственные задачи, в частности, предпосевную вспашку земли, посев и посадку культур, внесение удобрений, междурядную обработку посевов, уборку корнеплодов, сезонную заготовку зелёных кормов.
Плуг для мотоблока своими руками чертежи
Исходя из опыта людей которые делали плуг для мотоблока своими руками и чертежи, то нужно сделать лемех плуга съемным, чтобы затачивать его перед пахотой.
Лучший материал для изготовления режущей части плуга для мотоблока- легированная сталь 9ХС, идущая на диски циркулярных пил.
Сгодится и сталь 45, которая доводится до твердости HRC 50-55 закалкой. Если к вас есть только рядовая сталь, например углеродистая Ст.5, не подлежащая термической обработке, то ее тоже можно приспособить для резки пласта земли, отбив режущую кромку холодного лемеха на наковальне, и затем наточив ее.
Отвал для плуга мотоблока
Способ изготовления отвала №1. Рабочей поверхности отвала должна быть придана цилиндроидальная форма. Если есть листогибочные вальцы, то придать заготовке требуемую форму нетрудно.
Чтобы этого добиться, заготовку отвала, вырезанную газовой или электросваркой (либо ножницами) из стального листа толщиной 3-4 мм, подают на вальцы под углом 20°-23°, выгибают её, а затем молотком придают требуемую форму по шаблону.
Чертеж отвала плуга из листа стали 3 мм
Способ №2. Заготовкой для отвала может быть стальная труба с диаметром 550-600 мм и с толщиной стенки 4-5 мм. Вначале из плотного картона изготавливают шаблон отвала, затем шаблон прикладывается к трубе так, чтобы нижняя образующая шаблона отвала составляла с образующей цилиндрической трубы угол 20-23°.
Контур отвала рисуется мелом, затем он вырезается газовой сваркой и обрабатывается наждаком. Если необходимо, то форму отвала доводят молотком по имеющемуся шаблону.
Форма отвала плуга из трубы с диаметром 550-600 мм и с толщиной стенки 4-5 мм
Способ №3. Самым трудоемким способом получения отвала является помещение его заготовки в горн для нагрева (или нагрев ее другим способом). Затем заготовку гнут по матрице, в качестве которой можно брать отвал от другого плуга.
Материалом корпуса плуга служит стальной лист марки Ст.3-Ст.10 с толщиной 3 мм.
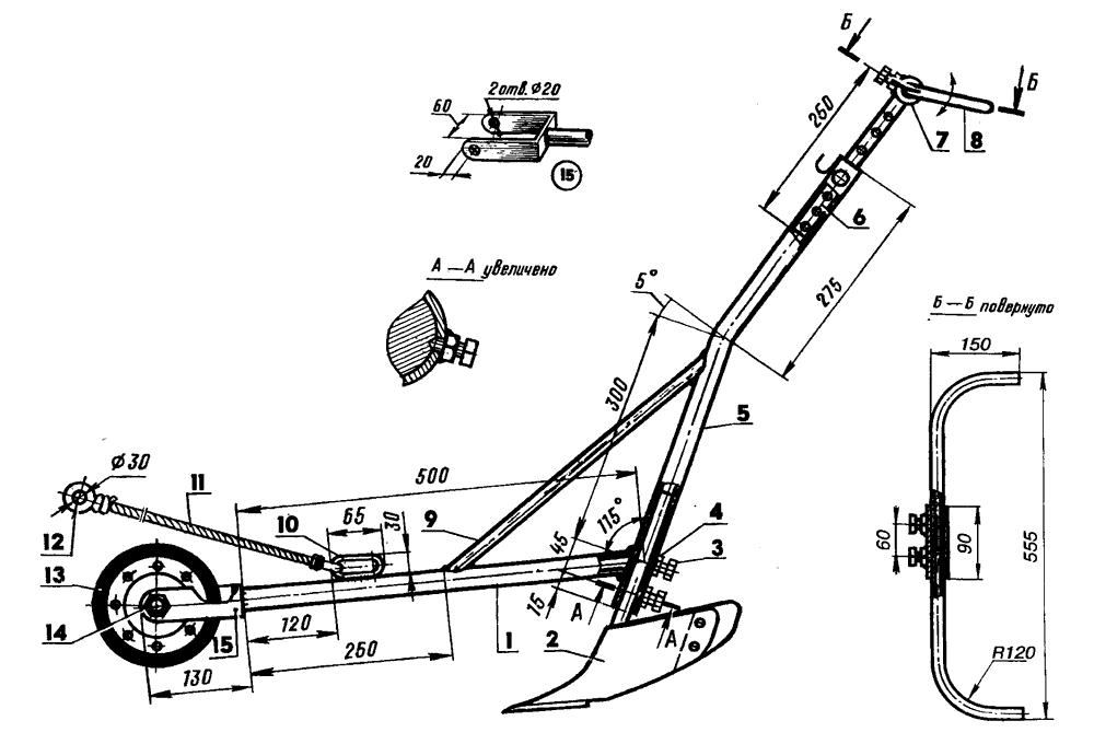
Чертеж деталей плуга:
- а – лемех из легированной стали;
- б — боковой щиток стойки, Ст3;
- в — распорная пластина, Ст3;
- г — пластина основания плуга, Ст3;
- д — полевая доска, уголок 30х30 мм;
- е — стойка, труба диаметром 42 мм
Рекомендуем вначале выполнить части плуга из плотного картона и соединить их между собой склеиванием с выдерживанием соответствующих углов. Так, значения угла альфа на разных частях корпуса плуга составят от 25° до 130°, значения угла гамма — от 42° до 50°. Если самодельная модель плуга из картона устроила вас по всем параметрам, смело начинайте работу с металлом.
Когда стальные части плуга будут сделаны, то для сборки его корпуса будет нужен вспомогательный лист стали толщиной 2-3 мм с размерами 500х500 мм, а также потребуется сварочный аппарат. На вспомогательном листе с отступом от краев 40 мм откладывается угол γ0.
Сборка плуга
- 1 — лемех;
- 2 — боковой щиток стойки;
- 3 – вспомогательный лист 2-3 мм
С использованием клиньев с углом α0=25° на вспомогательный лист устанавливается лемех и приваривается к листу точечно с двух сторон.
С лемехом стыкуется боковой щиток стойки в вертикальном положении так, чтобы его край заходил за край лемеха на 5-8 мм, при этом поднят боковой щиток должен быть выше, чем лезвие лемеха (то есть выше вспомогательного листа) на 6-10 мм, чтобы не мешать лемеху подрезать землю. Щиток также слегка приваривается к лемеху и к вспомогательному листу.
Затем к лемеху максимально плотно и без зазора прикладывается отвал, чтобы их поверхности были одним целым. Угол между верхним обрезом отвала и лезвием лемеха равен (γmax − γ0) = 6-8°.
Крепление лемеха плуга
- — лемех;
- — винт с потайной головкой М8;
- — отвал;
- — пластина основания;
- — уголок 30х30х90 мм;
- — гайка М8
Если обнаруживается, что углы и/или поверхности не соответствуют, то отвал дорабатывается молотком. После подгонки отвала к лемеху он сзади прихватывается сваркой как к лемеху, так и к боковому щитку. Затем боковой щиток сваривается с распорной планкой и пластиной основания, к последней сваркой прихватываются упорные уголки для лемеха.
Плуг еще раз подвергается осмотру и сваривается капитально, при этом вспомогательный лист, используемый для сборки плуга, отделяется от его корпуса зубилом или «болгаркой» с отрезным диском. Упорные уголки лемеха капитально привариваются к пластине основания. Затем все сварные швы зачищаются, а поверхности отвала и лемеха обрабатываются шлифшкуркой.
Разновидности плугов
Мотоблоки комплектуются тремя видами запашников:
- состоящих из одного или двух корпусов;
- оборотными;
- ротационными.
Однокорпусные модели имеют наипростейшую конструкцию, состоящее из одного ножа. Использовать такой распашник следует на легких почвах садовых участков. Если угодье, которое вы хотите обработать является целиной, то такой тип пахотника не справится с задачей. Вам понадобится металлоконструкция большей мощности.
Двухкорпусный рало состоит из двух рам с режущими элементами. Он способен вспахивать твердые виды почв и без труда обработает целину. Агрегат единовременно вспахивает и боронит почву. На выходе получается качественно обработанная пашня.
Поворотные или оборотные модели получили свое название из-за способности переворачивать землю. Режущий элемент сохи загнут сверху, что при работе позволяет перекапывать грунт. Таким приспособлением можно обрабатывать твердые пашни.
Ротационный тип отличается тем, что состоит из нескольких изогнутых ножей расположенных на оси. За счет работы техники тесаки вращаются по оси, тем самым рыхля почву. При работе техники человек не испытывает физической нагрузки, а земля обрабатывается вглубь примерно на 25 см.
Такую модель зачастую применяют дачники для обработки корнистых участков почвы. За счет смены направления агроном без труда сможет вспахать сложные по форме участки земли. Агрегат подходит для более мощных мотоблоков.
Сборка самодельного устройства
Чертеж плуга состоит из деталей:
- лемех из стали легированной;
- щиток боковой стойки, выполнен из Ст3;
- пластина распорная, изготовлена из Ст3;
- пластина для основания тоже из Ст3;
- доска полевая, уголок 30 на 30 миллиметров;
- стойка, выполнена из трубы диаметром 40 миллиметров.
Специалисты рекомендуют для начала сделать из плотного картона все части устройства, затем их соединить между собой с выдерживанием необходимых углов. Если картонная модель устроила вас по всем критериям, смело можно начинать работу с металлическими заготовками.
Когда вы выполните все заготовки из стали, то для сборки корпуса вам понадобится вспомогательный стальной лист 500 на 500 миллиметров и толщиной примерно 3 миллиметра, а также аппарат для сварки заготовок.
С помощью клиньев, имеющих, угол α равный 25градусам на вспомогательный лист монтируется лемех и точечно приваривается к листу с двух сторон.
С лемехом плуга в вертикальном положении состыковывается боковой щиток стойки так, чтобы край его заходил за край лемеха на 7 миллиметров, при этом боковой щиток необходимо поднять выше, чем лезвие самого лемеха на 10 миллиметров, чтобы при этом не мешать, лемеху резать грунт. Щиток также необходимо слегка прихватить сваркой к лемеху и соответственно к вспомогательному листу.
После к лемеху очень плотно необходимо приложить отвал, чтобы не было зазора и они были одним целым. Между верхним краем отвала и лезвием самого лемеха угол должен быть равен примерно 7 градусам.
Крепление лемеха состоит из таких деталей:
- лемех;
- винт М8 с потайной головкой;
- пластина основания;
- отвал;
- уголок 30 на 30 и на 90 мм;
- гайка М8.
Если в процессе сборки обнаружится, что углы или края не соответствуют или не совпадают, то отвал необходимо доработать увесистым молотком. После необходимой подгонки самого отвала к лемеху, необходимо его сзади точечно прихватить сваркой как к боковому щитку, так и к лемеху. Затем щиток окончательно приваривается к распорной планке и пластине основания. Потом к пластине у основания прихватываются уголки для упора лемеха.
Плуг необходимо еще раз предварительно осмотреть, затем уже обварить капитально. Не забудьте демонтировать вспомогательный лист, который вы использовали для сборки плуга. Отделить его от корпуса можно с помощью зубила или «болгаркой» с применением отрезного круга. Уголки упора лемеха капитально свариваются с пластиной основания. После проведения сварочных работ необходимо зачистить все сварочные швы, а поверхности лемеха и отвала обрабатываются наждачной бумагой.
Подготовка к созданию самоделки
Чтобы сделать самодельную сельхозмашину — умельцы используют подручные материалы и отслужившие свой срок узлы мини техники. Так, основой мотоблока нередко служит бензопила, мотороллер или мопед, а когда нужно получить мощный и более функциональный агрегат — устаревшая модель мотоцикла («Восход», «Ява», «Минск»).
Прежде чем приступить к сборке мотоблока либо мотокультиватора просматривают тематическое видео в сети интернет, подыскивают нужную информацию в журналах, прочих изданиях. Затем подготавливают инструмент и материал, разрабатывают эскизы и чертеж, где наглядно изображают все функционирующие органы самоделки, включая силовую и ходовую части, системы управления и агрегатирования. Ниже на чертеже показано, как выглядит одноколёсный мотокультиватор.

Рис.1. Устройство самодельного мотокультиватора
1– силовой агрегат культиватора; 2– металлический защитный кожух; 3– топливный бак; 4– бобина зажигания; 5– коммутатор; 6– шпилька, фиксирующая наклон навески; 7– болт М-16; 8– ось для монтажа навески; 9– плуг навесной; 10– кронштейн; 11– станина; 12– рукояти; колесо с грунтозахватами.
Нелишним будет сделать кинематическую схему самоделки, отразив в ней порядок взаимодействия рабочих механизмов и показав, как организована трансмиссия.
Чтобы сделать лёгкий мотокультиватор или более тяжёлый мотоблок — применяют следующий инструмент:
- электродрель с набором свёрл;
- болгарку и диски по металлу;
- ключи (рожковые, накидные);
- сварочный аппарат;
- тиски.
Материалом для самоделки служат высокопрочные швеллеры, стальные пластины и трубы.
Самодельную раму для мотоблока или мотокультиватора делают сварной, но в то же время очень прочной, так как к ней впоследствии будут прилаживаться все комплектующие самоделки. Для сооружения рамы применяют железные трубы или швеллеры.
Иногда чтобы собрать самодельный мотоблок или мотокультиватор — необходимо усовершенствование мотоциклетной рамы или ее доработка.

Рис.2. Переделанная рама от мотоцикла
1– руль; 2– держатель панели приборной; 3– площадка для установки аккумулятора; 4– швеллер (лонжерон); 5– картер; 6– станина; 7– натяжитель цепи; 8– упор натяжителя цепи; 9– подкос; 10– держатель крепления подрамника; 11– кронштейн, соединяющий культиватор с адаптером или прицепом; 12- поперечина.
От прежней конструкции отсекают переднюю вилку и иные элементы, чтобы те не препятствовали монтажу навесного оборудования на будущий культиватор. Сзади крепят сваркой самодельный механизм для сцепки мотокультиватора с оборудованием, прицепной тележкой. Как правильно самому сделать сцепку, следует посмотреть на видео.
Преимущества самодельного минитрактора
Если возникает необходимость обработать землю перед предстоящим выращиванием каких-либо культур, особое внимание уделяется таким действиям, как вспашка и подготовка к посеву. А ведь осуществить их ручным путём очень проблематично, а иногда и невозможно. Поэтому вопрос выбора мотоблока или минитрактора с хорошим плугом встаёт по-особому остро
Приобретение детали в гипермаркете для огородников и дачников — удовольствие недешевое, поэтому следует отдать предпочтение самодельному изобретению. Кстати, такой вариант обладает многими бесспорными достоинствами, среди которых выделяются такие:
Поэтому вопрос выбора мотоблока или минитрактора с хорошим плугом встаёт по-особому остро. Приобретение детали в гипермаркете для огородников и дачников — удовольствие недешевое, поэтому следует отдать предпочтение самодельному изобретению. Кстати, такой вариант обладает многими бесспорными достоинствами, среди которых выделяются такие:
- Размеры будущей конструкции подбираются в соответствии с эксплуатационными условиями, в результате чего они полностью совпадают с требованиями владельца. С помощью подобного плуга вы сможете возделывать конкретный тип почвенной смеси, предназначенной для конкретных огородных культур. Среди основных параметров, которые можно выбрать самостоятельно: угол отвала, глубина и качество обработки, производительность труда, площадь захвата.
- Учитывая показатели мощности и производительности минитрактора, можно выполнить идеальное решение с максимальными показателями КПД. В таком случае вероятность перегрузок двигателя будет минимальной, такая проблема, как буксование, исчезнет, а захват станет наибольшим.
- При изготовлении самодельной модели принято использовать лучшие материалы от известных производителей. В таком случае сроки эксплуатации существенно возрастают.
- Кроме того, вы можете предусмотреть установку всевозможных деталей и насадок, которые существенно расширяют функциональность вашего плуга. С их помощью можно будет проводить ряд других мероприятий, включая вспашку, культивацию и боронование.
Исходя из вышесказанного можно с уверенностью заявить, что плуг, который сделан своими руками — это по-настоящему незаменимое средство для каждого дачника и огородника.
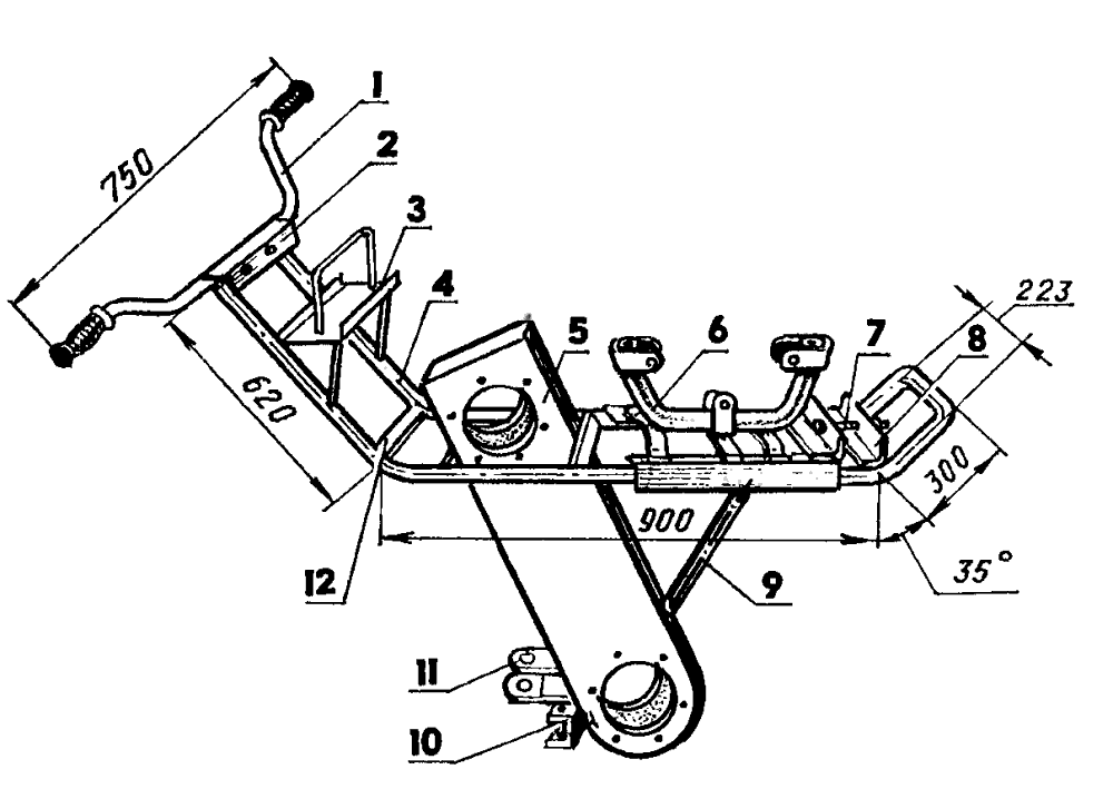
Ручной плуг
Главная > Инструменты > Ручной плуг
Вероятно такая проблема возникает у многих садоводов и огородников. Имеется маленький участок земли – одна или три сотки, и её нужно вспахать. Лопатой муторно, коня сейчас нигде не найти, трактор не въедет. Купить какой культиватор за штуку баксов и использовать его по часу в год – давит жаба. Начал рыть по просторам интернета – неужели ручной плуг, только наше изобретение – а что придумали жадные буржуи?
Оказывается у буржуинов такой девайс существовал давно, но использовали они его только для последующих доработок земли – поверхностной культивации, неглубокого окучивания, изготовления борозд при посадке. То есть, чтобы вручную тянуть плуг по дерну вместо коня двумя людьми, такого там не наблюдается. Вероятно лучше сброситься в округе нескольким хозяевам и купить мотоблок. Так появляются колхозы и социализм, что тоже не радует. А вот как они пахали; женщины в голландском поле 1919г. делают ручными плужками борозды для посадки мака:

Ручные плужки с большими колесами в начале 20 века делались чуть ли не в массовом порядке:

По такому же принципу буржуины делали и ручные культиваторы.

Теперь остановимся на наших рукодельцах. В связи с участившейся потребностью ручных плужков, их начали выпускать чуть ли не на каждом заводе. Конструкции такого изделия у всех практически идентичны и предназначены для использования в качестве тягла великовозрастного дитяти, который на сотке и физразминку сделает, и родителям поможет. Выглядит это так:

Данные конструкции постоянно совершенствуются как предприятиями, так и народными умельцами. Ставятся ролики и диски, в виде тяги используется либо веревка, либо труба с поперечиной. Может использоваться рама от велосипеда:

Очень интересная белорусская самоделка, мне понравилась форма ручного плуга – окучника:

Параллельно с такими поисками нашел старинную американскую ручную газоноосилку. Всё примитивно – пара ножей, два колеса. И еще ручная борона старых ковбоев. Может быть кто попробует:

Вот он, чертеж ручного плуга:

Ремонт электрического триммера Напишу еще одну статью из серии ремонта своими руками. На этот раз производим ремонт триммера газонокосилки
У этого важного для лета электроинструмента вышла из строя пусковая кнопка, вероятно заяц косил… Как чистить снег Кругом снег. Жизненно необходимо обеспечить доступ к своему жилищу
Нужно найти в себе силы и заменить компьютер на снеговую лопату. Еще лучше организовать для такой работы подрастающее поколение, а самому обеспечить…
Как выбрать триммер Я не буду вступать в спор о том, что лучше, триммер или газонокосилка.Это инструменты, предназначенные для разных целей. И если вы имеете более трех соток газона с деревьями, то лучше…
2.1k
Инструменты
Обсуждение закрыто.
Самодельное навесное оборудование
Практически любое навесное оборудование для трактора возможно изготовить самостоятельно. Это может быть и самодельная картофелекопалка, и самодельная роторная косилка (или сенокосилка), и роторный плуг, культиватор, окучник. Иногда можно переделать какое-либо оборудование, сделав его более функциональным.
Самыми популярными запросами в поисковике остаются конструкция активного плуга на МТЗ или ДТ и вопрос о том, как сделать культиватор своими руками. Ведь культиваторы — верные помощники сельскохозяйственных работников. Самый сложный элемент на МТЗ или ДТ — почвофреза. На переделанном культиваторе с качественной фрезой можно проводить окучивание долгое время.
Смотрите » Устройство переднего моста трактора Беларус МТЗ-82
Понять, как сделать установку навесного оборудования, будь то плуги для тракторов, самодельный культиватор, картофелекопалка для трактора или другие самоделки, несложно. Главное, действовать по заданным алгоритмам и сверяться со схемами и чертежами. Точно также можно без лишних усилий понять, как настроить чизельный плуг колесного трактора. Установить чизели на колесном тракторе — трудоемкий процесс, который тем не менее может сделать сам тракторист.
Лучшие модели и их характеристики
Из отечественных плугов у мелких и средних фермеров, а также у владельцев приусадебных хозяйств особой популярностью сегодня пользуются модели ПМ-20 и 25. Предназначены они специально для агрегатирования с мини-тракторами. Эти двухкорпусные роторные плуги с трехточечным соединением имеют следующие технические характеристики.
Плуги ПМ-20 и 25 роторные
| ПМ-20 | ПМ-25 | |
| Мощность трактора (л. с.) | От 16 | |
| Глубина обработки (см) | 20 | 25 |
| Ширина вспашки | 40 |
Стоят новые плуги ПМ-20 и 25 примерно 70 тыс. р. Реализующие их компании обычно предлагают в том числе и доставку их в любые регионы России. Также производитель дает гарантию на них в течение одного года.
Из импортных моделей роторных плугов фермеры чаще всего приобретают RT-120 и 125. Технические характеристики этих лемешных двухрамных моделей представлены в таблице ниже.
Плуги RT-120 и 125
| RT-120 | RT-125 | |
| Мощность (л. с.) | От 18 | |
| Глубина обработки (см) | 20 | 25 |
| Количество лопастей | 22 | 26 |
Производятся плуги RT-120 и 125 в Китае. Использовать их можно с любыми мини-тракторами мощностью от 18 л. с. Агрегатирование их производится в трех точках. Приобрести роторные плуги RT-120 и 125 в России можно у дилеров или же через интернет. Цена новых моделей начинается с 70 тыс. р. Подержанное оборудование этой марки можно купить и за 30 тыс. р.
Конечно же, на российском рынке имеются не только китайские роторные плуги. При желании можно приобрести для фермы или приусадебного участка и европейскую модель подобного оборудования. К примеру, довольно-таки большой популярностью у фермеров пользуются навесные инструменты итальянской фирмы Berta. Роторный плуг этой марки, скорее всего, обойдется дороже отечественного или китайского. Стоимость таких моделей начинается примерно с 85 тыс. рублей. В таблице ниже представлены некоторые технические характеристики плуга Berta.
Berta
| Характеристика | Значение |
| Минимальная мощность (л. с.) | 8 |
| Глубина вспашки (см) | 25-30 |
| Ширина вспашки (см) | 25-30 |
Конструктивные элементы плуга
Сделать самостоятельно ручной плуг сегодня не проблема. Тем более, что в Сети есть множество чертежей разнообразнейших конструкций.
Итак, для изготовления орудия для вспашки земли понадобится следующее:
- ручка из трубы — 2 шт;
- фиксация стойки винтом М 10 ;
- рама;
- крепежная вилка шарнира к раме;
- плуг;
- колесо;
- дышло;
- капроновая втулка для подшипника;
- шарнирная ось из болта М 10 ;
- перемычка между рукоятками;
- ось;
- контргайка;
- дистанционная шайба;
- тройник;
- ручка для дышла.
Главное, чем нужно руководствоваться при изготовлении плуга, — точное соблюдение инструкций и выдерживание параметров выбранного чертежа. Даже кажущаяся на первый взгляд несущественной мелочь может сильно сказаться на характеристиках орудия или негативно повлиять впоследствии на его рабочие параметры.
Сборка
Первой делается рама, которая может быть изготовлена из металлической трубы с сечением 40×52 мм и толщиной стенок около 7 мм. Для формирования вилки срезаются широкие стенки рамы, которые расположены друг напротив друга. Затем на раме отмечается середина, куда будет устанавливаться поперечная траверса и привариваться стойки-проушины, к которым крепится дышло. В начале вилки (в передней части рамы) остается отверстие, заваривающееся наглухо во избежание попадания грязи.
Крепление стойки
Для закрепления плужной стойки в широкой части трубы, использовавшейся для создания рамы, с двух сторон высверливаются или вырезаются отверстия 16×31 мм. В узких стенках рамы тоже проделываются сквозные отверстия Ø10,2 мм для крепления рукояти с помощью болтов М 10 . Рукоятки выполняются отдельно из трубы диаметром приблизительно полдюйма. Можно использовать для этой цели старую водопроводную трубу, которую с двух сторон расплющивают кувалдой. В полученных плоскостях высверливаются отверстия Ø10,2 мм и крепятся на раме болтами. Для большей жесткости между рукоятками приваривается поперечина.
Плужная сцепка
Сцепка — важный элемент, который обеспечивает надежное крепление навесного плуга с «Невой». Наиболее популярно П-образное крепление из швеллера, устанавливающееся под рулем мотоблока. При создании сцепки просверливаются отверстия для крепления крепежного штыря и кронштейна. Кронштейн для крепления находится вверху или внизу, чтоб не препятствовал навешиванию.
Изготовление и крепление рабочих элементов
Основные элементы однокорпусной конструкции — это лемех и отвал. Для их изготовления нужна прочная листовая сталь толщиной 3−5 мм. Первым делается лемех, для чего используется старый диск от циркулярной пилы, изготовленный из высокопрочной стали. Для заточки режущей кромки лемеха ее отбивают на наковальне. Далее делается отвал из металлической трубы Ø50−60 см и толщиной стенок около 5 мм. Из картона или плотной бумаги делается шаблон, который прикладывают к металлу и по контуру обводят мелом. По полученным линиям газосваркой вырезается заготовка, которая доводится до нужных размеров «болгаркой» или молотом и наждаком.
Завершающий этап
После создания всех металлических деталей плуга для финальной сборки требуется металлический лист 50×50 см, а также электросварочный аппарат. К листу, со строгим соблюдением углов, слегка прихватывают сваркой элементы будущего плуга: боковой щиток и лемех, к которому примеряется отвал. Если имеются несоответствия, отвал с помощью молотка доводится до требуемого состояния и прихватывается сваркой к задней части лемеха.
Если недостатков при осмотре не замечено, можно приступать к капитальной сварке. Металлический лист, на котором производилась сборка, отсоединяется от конструкции «болгаркой» или молотком и зубилом. Далее тщательно зачищаются сварные швы, наждачной бумагой шлифуются лемех и отвал. Когда конструкция собрана и практически готова к использованию, ее окрашивают, особенно места сварных соединений. Это придаст эстетики и убережет металл от коррозии, а значит, заметно продлит срок службы изделия.
Так как сделать своими руками плуг для мотоблока не очень-то просто, требуется хотя бы минимальный опыт работы со слесарными инструментами. Непременно при изготовлении нужно придерживаться рабочего чертежа и всех положенных инструкций. Добавим, что самостоятельное изготовление плуга позволит сэкономить, потому что большую часть материалов можно найти в хозяйстве.
Как сделать поворотный плуг для мотоблока
Поворотная конструкция — это ручной агрегат на специальной сцепке
При изготовлении такого инструмента важно разместить лезвие лемеха на 1,5-2 см ниже горизонтальной поверхности полозка, а его фронтальное основание должно плотно прилегать к отвалу. Плуг с опорным колесом для мотоблока тоже собирается на листе стали

После завершения сварочных работ отполированные поверхности тщательно очищаются, заливаются технической смазкой и растираются ветошью. Это обеспечит защиту самодельного сельхозинвентаря от коррозийных проявлений. Заднюю поверхность приваренного лемеха следует сделать максимально ровной. Угол, образуемый ею и пластинчатым основанием оборудования, должен располагаться в диапазоне 18-20°, а задние поверхности рабочих кромок — 12-15°.
Размеры плуга для мотоблока
Навесной агрегат поворотного типа собственноручного изготовления должен быть компактным, относительно простым в эксплуатации, мало весить и в то же время иметь высокую продуктивность, способность обрабатывать масштабные участки земли и исправно функционировать в сложных полевых условиях. Рекомендованные размеры подобного оборудования составляют:
- 570х380х250 мм (ДхШхВ);
- ширина охвата лемеха — 205 мм;
- расчетная глубина вспахивания — до 13 см;
- угол между режущей кромкой лемеха и полевой поверхностью — 40-45°;
- угол между вертикальной плоскостью отвала и обрабатываемой поверхностью почвы — примерно 48°.
Угол атаки лемеха должен составлять 16°. Это обеспечит плавность вхождения рабочего лезвия в почву и долговечность изделия.




































