Обеспечение вентилирования и освещения
Правильная организация электрической и вентиляционной систем должны обеспечивать достаточный комфорт внутри гаража при полной безопасности. Электрические линии и вывод точек (розетки) должны соответствовать нормам и правилам эксплуатации электроустановок.
Вентиляция может быть естественной и принудительной. Наиболее распространенный вариант – вентиляционные решетки на воротах на высоте 25-30 см от земли и выход на задней стенке. Выход рекомендуется снабдить трубой высотой порядка 1 м над крышей, что обеспечит нужную тягу. При проведении в гараже работ с повышенным запылением и использованием химикатов необходима установка вытяжных вентиляторов.
Освещение должно быть достаточным для проведения работ в темное время суток. Предусматривается общее освещение всего помещения, а также местная подсветка в районе верстака и других рабочих зонах. Для смотровой ямы можно использовать переноски. Их можно сделать своими руками.
Для этого потребуется гибкий кабель с резиновой оболочкой и сечением жил не менее 2,5 мм². На одном его конце монтируется вилка (разъем) с заземляющим контактом. Второй конец снабжается переносным светильником с плафоном. Все соединения должны быть надежно изолированы.
Используем старые вещи
Залежи старых вещей, которые имеются в каждом доме – неиссякаемый источник идей для необычного и бюджетного декора. Несколько фактурных банок могут стать оригинальным украшением для кухни в стиле кантри или шебби-шик. Их прикрепляют к одной или нескольким деревянным доскам; кухня становится уютнее, а свободное место используется рационально.
Старым деревянным ящикам можно подарить вторую жизнь, превратив их в удобные и стильные полки, навесные или напольные. Для этого деревянную поверхность шлифуют, покрывают лаком или красят; затем ящики скрепляют в конструкцию нужного размера. Такой предмет мебели украсит не только кухню, но и гостиную или детскую.
Приятные воспоминания сделают пространство уютнее. Чтобы украсить комнату фотографиями, не придётся тратиться на рамки; воспользуйтесь старыми деревянными прищепками, бечёвкой или бельевой верёвкой (она может удачно сымитировать канат). Если нет прищепок, замените их металлическими скрепками.
Старая, ненужная посуда – прекрасный материал для изготовления самобытного декора и лайфхак для дизайна интерьера. Вышедший из моды сервиз послужит основой для оригинальной люстры, настольной лампы, подсвечников. Не забудьте про дрель с тонким сверлом, без неё аккуратные отверстия не получатся.
Ёмкости для хранения необязательно использовать по прямому назначению. Подставки для журналов помогут навести порядок в обувном шкафу. Получится не только аккуратно, но и красиво.
Как выбрать материалы для отделки?
Выбор отделочных материалов для внутреннего гаражного обустройства основывается на предъявляемых требованиях, которые несколько различаются для разных элементов конструкции.
Для потолка
В наиболее простых условиях находится потолок. При хорошей гидрозащите крыши основное требование к потолочной отделке – стойкость к газам и парам, поднимающимся вверх.
Особо следует выделить выхлопные газы автомобиля. Для отделки потолка можно использовать фанеру, гипсокартон, ДСП, доски или вагонку, полимерные панели. В качестве финишного покрытия может применяться покраска или побелка.
На стены
Для стен важно чтобы материал обладал негорючестью, водостойкостью, достаточной механической прочностью (не исключены режущие и царапающие воздействия). Поверхность не должна легко впитывать грязь и очищаться с использованием обычных моющих средств
К наиболее распространенным стеновым отделочным материалам можно отнести следующие виды
Поверхность не должна легко впитывать грязь и очищаться с использованием обычных моющих средств. К наиболее распространенным стеновым отделочным материалам можно отнести следующие виды.
Штукатурка
В случае кирпичного или бетонного гаража она считается основным способом отделки стен. С помощью цементно-песчаного раствора обеспечивается ровность поверхности. Для финишного покрытия можно остановить выбор на краске фасадного типа.
Она имеет достаточную стойкость к различным агрессивным воздействиям. Цвет окрашивания зависит от выбранного стиля оформления всего интерьера и размеров гаража. Для совсем маленьких помещений больше подходят теплые, пастельные оттенки, которые визуально увеличат пространство.
Однотонная белизна не очень гармонирует с техническим назначением помещения. Яркость интерьера можно достигнуть желтым фоном.
Деревянная вагонка
Древесина выглядит натурально и создает привлекательный внешний вид. Важный недостаток – глубокое впитывание горюче-смазочных материалов, что создает трудно удалимые загрязнения.
Для того, чтобы устранить эту проблему, необходимо покрытие маслостойкими лаками. Кроме того, дерево относится к горючим материалам, что требует специальной противопожарной пропитки.
Советуем почитать: Преимущества и недостатки вагонки, ее виды
Полимерные панели
Наибольшее распространение находит ПВХ-вагонка или ПВХ-панели. Такой материал является самозатухающим и не поддерживает горение. Он достаточно стоек к агрессивным воздействиям.
Современные панели выпускаются с широкой гаммой расцветок, что расширяет возможности дизайна. Один из выделяемых недостатков – низкая стойкость к царапающим и продавливающим нагрузкам, а также ударам. В то же время, отмечается ремонтоспособность панелей, когда поврежденные элементы можно легко заменить новыми.
Такое покрытие является наиболее прочным и долговечным. Оно легко очищается от любой грязи и не изменяет своего цвета под агрессивными влияниями. Главный недостаток – высокая стоимость.
Напольные покрытия
Пол в гараже – это элемент конструкции, находящийся в наиболее тяжелых условиях. На него наезжает и на нем долго стоит тяжелый автомобиль. На пол периодически проливаются горюче-смазочные материалы, охлаждающая жидкость, топливо и другие агрессивные вещества. Снизу воздействует влага почвы и мороз в зимнее время.
Для таких условий реально подойдут такие материалы и технологии.
Бетонное покрытие
Такое обустройство пола считается наиболее простым и достаточно надежным. Покрытие может изготавливаться путем заливки бетона или из железобетонных плит. Обработка поверхности специальной мастикой увеличивает стойкость материала к агрессивным жидкостям, не давая проникнуть вглубь.
Для исключения накопления воды формируется элементарная дренажная система – отводящие желоба, в сторону которых выполняется небольшой уклон пола. Среди недостатков выделяется появление бетонной пыли при движении автотранспорта и других механических нагрузках.
Брусчатка
Это достаточно дорогостоящее, но очень прочное и износоустойчивое покрытие. Оно имеет привлекательный внешний вид и относится к элитной категории. Использование тротуарной плитки разной формы, размера и цвета можно обеспечить нужный декор.
Бывают на акриловой, полиуретановой и эпоксидной основе. Это современный материал, который образует износоустойчивое покрытие, стойкое к агрессивным воздействиям. Ограничивает применение достаточно высокая стоимость.
Создание полезных приспособлений для гаража своими руками
Чтобы осуществлять ремонтные и сервисные работы, потребуется соорудить смотровую яму в гараже своими руками, размеры которой будут соответствовать габаритам авто, а также верстак для удобной работы, плюс снабдить помещение станками.
Основной набор инструментов и материалов для создания самодельного верстака для гаража включает:
- доски и деревянные бруски;
- крепежные элементы и стяжки;
- рубанок и другие инструменты для обработки дерева;
- лакирующий и столярный клеевые составы;
- наждачную бумагу и олифу.

Пример размещения в гараже полезных приспособлений: 1 — верстак с ручными станками, 2 — стеллажи и шкафы, 3 — стол для проведения различных ремонтных работ, 4 — полка для хранения шин, 5 — смотровая яма
Технология изготовления верстака в гараже своими руками: фото, чертежи
Верстак состоит из столешницы и подстолья, а также нескольких устройств зажимного типа. Высоту верстака в гараже следует подбирать с учетом собственного роста. Можно взять в качестве ориентира высоту кухонного стола в доме, за которым удобно работать. Обязательно составьте для создания верстака для гаража своими руками чертежи.
Обустройство гаража: как сделать верстак в помещении:
| Этап работы | Детали, размер в см | Тип крепления |
| Сборка столешницы | 20 досок (5х10х200) с пазами 2,5х2,5 в 5-ом и 16-ом элементе (шаг 25) | Клеевой состав металлические стяжки |
| Сушка | — | — |
| Изготовление ножек (4 шт.) | Брусок (10х10х80) с пазами под кронштейны на передних опорах | Кронштейны |
| Сборка основания подстолья | Рамы (2 шт.) из досок (5х10) | Соединение «в шип» на глубину 2,5 см и болты |
| Фиксация боковых и задних опорных стенок | Плиты ДСП (толщина 10 мм) | Шурупы |
| Фиксация столешницы к верхней раме | — | Болты |
Заключительная обработка предполагает пропитку готового изделия олифой и вскрытие лаком.
Рекомендации по созданию смотровой ямы в гараже своими руками
Не существует определенных размеров смотровой ямы в гараже. В качестве основы берутся габариты автомобиля.
Как сделать смотровую яму в гараж с оптимальными параметрами:
- Ширина подбирается с тем расчетом, чтобы внутри было достаточно места для работы. Размер ограничен расстоянием, на которое посажены колеса авто. Каждое колесо нуждается в небольшой площади для выполнения маневров. Средняя ширина ямы составляет 0,8 м.
- Длина ямы ограничивается длиной машины. К этому показателю следует добавить 1 м.
- Для расчета глубины используется рост владельца гаража. К нему прибавляется еще 10-15 см.
Как правильно сделать смотровую яму в гараж с использованием разных материалов:
| Материал | Толщина стенок, см |
| Керамический кирпич | 12-25 |
| Бетон | 15 |
| Строительные блоки | 20 |
Котлован вырывается с учетом оптимальной ширины ямы, материала, выбранного для стенок, а также толщины гидроизоляционного слоя. Этапы создания ямы:
- разметка;
- строительство котлована;
- обустройство котлована;
- строительство стен;
- прокладка освещения.
Для гидроизоляции стен применяется специализированная гидрофобная пропитка.

Схема обустройства смотровой ямы: 1 — стенки из пеноблоков, 2 — гидроизоляция, 3 — бутовая кладка. 4 — уголок размером 50х50х4 мм
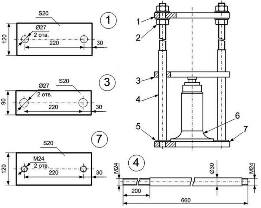
Изготовление пресса для гаража своими руками
Для создания пресса следует изготовить из 4 отрезков металлических труб каркас размером 178х80 см. Эти элементы соединяются методом сварки. В работе рекомендуется руководствоваться чертежами, заранее подобранными или составленными. После этого нужно установить:
- фиксатор;
- съемный упор;
- бутылочный домкрат (гидравлический).
Можно использовать для рассмотрения подробной технологии создания полезных приспособлений для гаража своими руками видео-материалы. Такие наглядные рекомендации помогают сориентироваться в размерах, освоить пошаговые инструкции и представить, какой внешний вид должна иметь готовая конструкция.

Схема изготовления гидравлического пресса: 1 — верхняя силовая платформа, 2 — гайки, 3 — нижняя платформа, 4 — шпильки диаметром 30 мм, 5 — нижняя резьба шпилек, 6 — гидравлический домкрат бутылочного типа; 7 — основание толщиной 20 мм
Обустройство гаража можно сделать собственными руками. На этом список полезных приспособлений не заканчивается. Его всегда можно дополнить любыми интересными идеями. Главное, чтобы гараж полностью соответствовал личным требованиям в отношении комфорта и удобства.
https://youtube.com/watch?v=D1BKvgCBg8Q
Защита лампы освещения
Для комфортной работы должен быть достаточный уровень освещения. Но, учитывая назначение гаража, есть высокий риск повреждения лампы. Поэтому в полезные гаражные самоделки стоит обязательно включить специальные защитные плафоны. Сделать их можно самостоятельно из обычной пластиковой бутылки.
Конструкция делается достаточно просто:
- Вырежьте в бутылке окно под лампу. Обычно достаточно размера примерно в четверть бутылки.
- Срежьте горлышко таким образом, чтобы в него свободно входила лампа. При этом патрон должен находиться снаружи, обеспечивая неподвижность лампы в бутылке.
- Прикрепите бутылку с лампой к поверхности. Можно применить и штатные крепления от патрона, исходя из его типа.

Стойка для электродрели – упростим процесс сверления
В частном гараже с течением времени появляется все больше и больше разнообразных инструментов и инвентаря, используемого для обслуживания транспортного средства. Владельцу следует обеспечить их удобное и рациональное хранение таким образом, чтобы самые необходимые приспособления всегда находились под рукой, а редко используемые были спрятаны подальше. Чтобы решить эту задачу, нужно нарисовать элементарный эскиз и создать по нему полки или стеллажи для гаража. Готовых вариантов таких конструкций немало в интернете. Да и самому придумать систему стеллажей совсем несложно.
Больше проблем возникает, когда требуются какие-либо редкие самоделки для гаража. Например, многие автовладельцы пользуются при обслуживании машины и выполнении различных работ по дому электрической дрелью. Нередко с ее помощью требуется сделать безупречно ровные отверстия со строго перпендикулярными по отношению к плоскости обрабатываемого изделия осями. Тот, кто пытался добиться такого результата, знает, что это совсем непросто. Как правило, отверстия получаются с перекосами. Решить подобную проблему позволяет стойка для дрели. Чтобы соорудить ее своими руками, нужно запастись:
- прутком либо калиброванной трубкой;
- площадкой от фрезера (ручного), который уже давно не используется по назначению из-за своей изношенности;
- листами фанеры.
В качестве основания под стойку разрешается использовать и другую подходящую площадку. Главное, чтобы она была ровной и располагала участками, куда можно установить новые длинные направляющие. Функцию последних в нашем случае станут выполнять, как вы уже поняли, прутки из металла или калиброванные трубки. Сам процесс сооружения стойки по-настоящему прост. Опишем его.
Сначала мы вырезаем из листа фанеры короб. Его нужно делать четко по геометрическим параметрам имеющейся в распоряжении дрели. Затем необходимо как можно надежнее закрепить наш электроинструмент для сверления отверстий в подготовленном для него коробе. Фиксацию лучше всего произвести, применив специальные гайки-барашки. После этого проделываем два отверстия в коробе и пропускаем через них трубки (прутки) – направляющие. Сверху на них монтируем ручку. С ее помощью мы будем передвигать дрель для сверления отверстий по вертикали.
Совет. Если вы хотите контролировать глубину сверления, желательно дополнительно оснастить конструкцию быстрозажимным фиксатором. Он будет играть роль ограничителя движения дрели. Все описанные работы у более-менее опытного домашнего мастера не вызовут ни малейших проблем. А в итоге мы получим удобное в эксплуатации и очень полезное самодельное оборудование.
Токарный станок своими руками

Чертеж небольшого токарного станка, который представлен, может пригодиться тем, кому изредка приходится сталкиваться с токарными работами, а настольный покупать нет смысла. Этот проект, конечно, не удовлетворит тех, кому нужна высокая точность и высокие обороты шпинделя, но для минимальных токарных работ он подойдет. Вместо шпинделя из болта М10, представленного на чертеже, используйте готовый шпиндель или патрон от дрели.

Предназначен для обработки деревянных и пластиковых деталей, диаметр детали — до 50 мм, а длина до 200, но можно пересмотреть при необходимости. Если взять его за основу, то заменив деревянное основание на любой металлопрокат, получаем подобие настольного станка для токарных работ по металлу.
Полезные приспособления
Не замахиваясь на слишком сложные самодельные станки и приспособления для гаража, любой его хозяин может своими руками сделать несколько весьма полезных вещей из подручных материалов.
Переноска с небьющимся плафоном
При ремонте автомобиля или других работах часто бывает необходимо яркое освещение, направленное в нужное место. Его не могут обеспечить стационарные потолочные и настенные светильники, нужна переноска с патроном и лампой, которую легко разбить при перемещении или неловком движении. Защитить её можно с помощью легкого небьющегося плафона из пластиковой канистры или бутылки с полупрозрачными матовыми стенками.
Горлышко от неё отрезают на таком уровне, чтобы в отверстие пролезал патрон. В боковой стенке вырезают окошко, через которое вставляют в патрон лампочку, и его же направляют на нуждающееся в освещении место. При этом боковые стенки плафона рассеивают свет, и он не бьет в глаза.
Что можно сделать своими руками для гаража
Большинство гаражей являются не только местом хранения автомобиля, но и как кладовая и место, в котором можно поработать с инструментом. А для этого необходимо оптимизировать пространство, чтобы организовать место для хранения вещей, работы, инструментов и, конечно же, оставить пространство для авто. Один из самых простых способов хранения каких-либо длинномеров, (плинтусов, обрезков труб) является использование трубы широкого диаметра, которая крепится к потолку гаража. Если внутри нее сделать крестообразную перегородку из фанеры, то можно в такой трубе поместить достаточно много разного материала.
Главное, как следует такие трубы закрепить, чтобы они не упали вниз на машину.
Чтобы хранить всякие вещи, можно сделать многочисленные полки. Причем сделать их можно самостоятельно.
Материалы:
- Основные стойки можно сделать из металла;
- Чаще всего используют металлические уголки;
- Полки из деревянных досок;
- Подойдет и толстая фанера.
Инструменты можно хранить в специальном инструментальном узком шкафу, в котором можно установить системы хранения, которые будут находиться не только в основном пространстве, но и на дверцах. Это позволит видеть все инструменты, а если еще в таком шкафу в нижней части разместить ящики для мелких вещей, то тогда все будет под рукой и в нужный момент. Подобные поделки можно сделать, самостоятельно из самых разных подручных материалов, например, металл, обрезки пластиковых труб, фанера и т.д.
Компрессор от старого холодильника в гараже
Несмотря на кажущуюся слабосильность – это вполне работоспособный агрегат. При его помощи и колеса накачать можно, и с небольшой доработкой подкрасить автомобиль. Он ничуть не слабее большинства работающих от прикуривателя автомобильных компрессоров, но в отличие от них может трудиться значительно большее время.
Главной проблемой прямого использования этого компрессора является присутствие в схеме его подключения в составе холодильного агрегата терморегулятора. Его следует отключить:
А вот установка на выходном шланге автомобильного фильтра тонкой очистки, улавливающего масляные капельки – неэффективна, лучше для этой цели использовать более мощные фильтры с отстойниками. Пусковое реле стоит использовать штатное. Компрессор питается от 220В, что делает его привязанным к электросети, но в условиях гаража – это очень полезное устройство.
Для подкачки колес на выходной шланг стоит поставить пистолет с нажимным клапаном и манометром, ведь давление эта малютка способна создать до 16 атм.

А если вы планируете при помощи такого компрессора производить и небольшие покрасочные работы, то без ресивера вам не обойтись.

В его роли может выступить любая герметичная емкость, способная выдержать давление в 4 – 7 атм, в которую можно врезать 2 резьбовых или гребенчатых штуцера. Установка манометра в такой системе обязательна.
Также в качестве ресивера можно использовать автомобильное колесо или даже камеру. Более стационарный вариант такого ресивера показан на видео:
Но можно и не портить диск, а сделать систему попроще.

Шланг подкачки присоединяется в систему через золотник, а на выпускной ветке работает механизм перекрывания воздуха в краскораспылителе.
Конечно, вы можете использовать и самодельный краскопульт.
Но в таком случае перед ним следует врезать запорный краник. А вот колесо можно подкачивать и механическим насосом, при небольшом расходе воздуха такого давления будет достаточно.
Мини-станок для заточки ножей – надежный и компактный
Теперь попробуем сделать приспособление, которое позволит затачивать кухонные и любые другие ножи. Действуем так:
- Берем ненужный лист металла (в любом гараже он обязательно валяется где-нибудь в углу и ждет своего часа).
- Фиксируем в нижней его части болт с резьбой, а сверху металлической пластины привариваем небольшой уголок.
- На болтовую резьбу надеваем гайку. Она выполняет функцию шарнира для бокового передвижения нашего приспособления. С ее помощью можно изменять угол заточки ножей.
- Привариваем к описанной гайке еще одну. Мы получили в болте готовое отверстие под шток. Его несложно сделать из тонкой проволоки.
Струбциной в станке будет верхняя часть листа. Проделываем в ней два отверстия. Прикладываем к станине струбцину. После чего прорезаем еще одно отверстие. Оно должно быть сквозным (общим для пластины и струбцины)
Далее делаем резьбу в станине, принимая во внимание длину брусьев для точения. Их оптимально сделать из искусственных алмазов
Более износостойкого и при этом совсем недорого изделия в природе не существует. А зажимы для брусьев изготовим за пару минут из куска эбонита либо оргстекла.
Осталось лишь просверлить дополнительное отверстие на пластинке, расположив его подальше от ножа, и нарезать резьбу под болт, с помощью которого будет выполняться затяжка. Компактный и качественный инструмент для заточки готов! Ставим его на полку в гараже и используем по мере необходимости. Сделанные по описанной схеме станки можно брать с собой даже в поход. Весят такие гаражные точилки немного, места занимают минимум.
Самоделки для дачи и огорода своими руками
На даче обычно появляется немного свободного времени для творчества и обустройства окружающего пространства. Поэтому стоит иметь под рукой несколько свежих идей, чтобы воплотить их на собственном дачном участке. Дачные самоделки в домашних условиях своими руками могут быть и до гениального простыми. Из подручных материалов можно мастерить неожиданные и чрезвычайно полезные в домашнем обиходе вещи.
Обычные камушки превращаются в сказочных зверушек. Из старого чайника получается прекрасный цветочный горшок.
Бывшие в употреблении шины – это уже стало классикой в мире садовых фигур. Стильные светильники для дачного интерьера – сделай сам из обычной банки и свечи (не стоит забывать про технику безопасности). Подвесные клумбы – шикарная идея для маленькой дачи. Самоделки для дачи и огорода своими руками часто получаются сами собой, без лишних временных и финансовых затрат. Пожалуй, вы не догадывались, насколько полезными для домашнего хозяйства окажутся пластиковые бутылки. Пластиковые бутылки, которые вышли из обихода, могут послужить основой для невероятной декоративной клумбы. Прикольные «цветущие» столбы значительно украсят ваше дачное пространство.
Гаражный верстак – трудно обойтись без него!
Если вы планируете заниматься в гараже самостоятельным обслуживанием своего транспортного средства, а также производить разнообразные ремонтные работы и делать собственные поделки, обойтись без верстака будет трудно. Его обычно изготавливают из деревянных досок, которые монтируются на надежное основание (металлическая профилированная труба или деревянный толстый брус).
Допускается делать рабочий стол и из металлических заготовок. Их несложно нарезать по требуемым размерам и собрать в одно прочное сооружение посредством стальных уголков и метизов (универсальные саморезы, винтовые соединения, болты и так далее) либо при помощи сварочного аппарата.
Изготовление деревянного либо металлического верстака всегда начинают с составления подробного чертежа конструкции. Вы должны грамотно оценить рабочее пространство своего гаража и максимально гармонично вписать в него рабочий стол. Желательно предусмотреть наличие полок и ящиков (выдвижных) на верстаке. Они позволят вам хранить всевозможные инструменты под рукой. На столешницу рекомендуется установить небольшие тиски.

Изготовление металлического верстака
Если в вашем гараже имеются полки или стеллажи (либо вы хотите их смонтировать), спецы советуют устанавливать верстак рядом с ними.
Тогда вы получите отличную рабочую зону, где можно будет заниматься любым домашним творчеством, производя оригинальные и полезные самоделки для дома.
Далее приводится схема изготовления простого верстака, который будет служить вам много лет:
- Собираете столешницу из досок с подходящими для вас геометрическими параметрами (например, 200 на 10 на 5 см), соединяя деревянные изделия между собой металлическими стяжками и хорошим клеем. Для стандартного верстака, подходящего для любого гаража, достаточно взять 20 таких досок.
- На столешнице сделайте специальные пазы (на 5 и 16 по счету досках) под упоры. Параметры пазов – 2,5 на 2,5 см.
- После высыхания клея столешницу необходимо обстругать так, чтобы получилась безупречно ровная рабочая поверхность.
- Из брусков 80 на 10 на 10 см изготавливаете ножки для верстака. В передних опорах следует предусмотреть пазы. В них вы вставите кронштейны, которые затем соедините с балкой (продольной).
- Собираете основание подстолья из двух рам, изготовленных из досок 10 на 5 см, и фиксируете его к опоре. В ножки верстака рамы врезают примерно на 2,5 см, а затем крепят их болтами.
- К полученной конструкции присоединяете опорные стенки (заднюю и боковую). Их можно делать из сантиметровой фанеры либо листов ДСП.
Теперь нужно соединить верхнюю раму со столешницей. Эта операция без проблем выполняется при помощи болтов. Не забудьте нанести олифу на сделанный деревянный верстак и покрыть его лаком. На таком столе любые поделки вы будете изготавливать с особым удовольствием!
Обогреватель для гаража
В зависимости от размеров гаража и наружной температуры могут для обогрева могут использоваться такие устройства:
- Печи на жидком топливе (отработке). Основные плюсы – работа на отработанном масле, возможность обеспечения горячего водоснабжения и приготовления пищи (чая). Недостаток – необходимость выведения дымохода над крышей и периодическая чистка установки.
- При наличии газовой подводки можно использовать готовые газовые обогреватели (читайте: газификация в частном доме).
- Электрические обогреватели. Они наиболее популярны в гаражных условиях, но требуют повышенного внимания в части обеспечения безопасности. Часто используются обогреватели масляного типа. Для обогрева больших пространств применяются тепловые вентиляторы.
- Инфракрасные обогреватели. Их оптимальное расположение возле потолка, с направлением потока в направлении пола.
Все системы обогрева используются при необходимости. В гараже редко предусматриваются стационарные устройства с учетом сезонной потребности. Выбор обогревателя следует проводить с учетом норм пожарной безопасности, наличия коммуникаций и расхода электроэнергии.
Самодельный подъёмник в гараж
Ну, это не совсем подъёмник, в прямом смысле, так сказать, однако данная самоделка поможет справиться, когда нужно будет лезть под автомобиль. Для изготовления подъёмника своими руками понадобятся куски швеллера и арматура, хотя можно использовать и другой металлопрокат, который есть в наличии.
Единственное что нужно учитывать, так это толщину металла и вес автомобиля, который будет ставиться на подъёмник. Для соединения всех частей металлоконструкции рекомендуется использовать сварку. Только таким образом, на молекулярном уровне, происходит надёжное соединение всех частей автомобильного подъёмника.
Стеллаж – обязателен для гаража!
Автодомик у любого владельца транспортного средства с течением времени превращается в своеобразный склад, где хранятся разнообразные предметы и инструменты. Всем им необходимо найти удобное место, чтобы каждое приспособление было несложно найти. Стеллаж, сделанный своими руками, позволяет качественно организовать хранение инструментария.
Вы можете изготовить такую конструкцию из металла и древесины. В последнем случае используйте твердое дерево – бук или дуб. Полки и ящики из них способны выдерживать достаточно серьезные нагрузки. Стеллаж по принятым нормам обязан держать давление не менее 150–160 кг. При этом не рекомендуется нагружать самодельные конструкции вещами, которые в общем весят более 500 кг.
Стеллаж из древесины
Давайте посмотрим, как можно быстро изготовить гаражный стеллаж, потратив минимум денег на приобретение материалов. Схема выполнения работ следующая:
- Возьмите 9-сантиметровую по ширине доску, выполните ее раскрой на куски разных размеров (18–30 см). Эти отрезки мы будем использовать в качестве подпорок для стеллажа.
- Полки делайте из более мощной доски – толщиной 19 см. Для этого вам понадобится распилить ее на отрезки нужной длины.
- Разметьте доску для основания конструкции, указав на ней точки расположения распорок (от края основы их обычно отдаляют на 2,5–3 см). Теперь необходимо прикрепить (желательно применять строительный клей) верхнюю распорку и прибить к ней (обычными гвоздями подходящих размеров) верхнюю полку стеллажа. Затем повторите эти манипуляции с другими полками и распорками. В самую последнюю очередь крепится нижний распирающий элемент.
- Переворачивайте собранную конструкцию, стягиваете основу стеллажа с распорками, используя шурупы.
Сооружение для хранения различных инструментов и вещей практически готово. Вам потребуется лишь обработать наждачкой стеллаж и нанести после этого на древесину масляный лак (лучше сделать два слоя), а затем прикрепить анкерными шурупами самодельную конструкцию к стене. Места крепления стеллажа к стенке – под самой нижней и самой верхней полкой.





































